Вы можете выбрать нужный товар из каталога.
| Полезная мощность насоса, кВт | 108 |
| Предельное давление нагнетания при наибольшей подаче, МПа (кгс/см2) | 4,5 (45) |
| Предельное давление нагнетания при наименьшей подаче, МПа (кгс/см2) | 40 (400) |
| Наибольшая объемная подача, л/с (м3/ч) | 26,0 (93,6) |
| Наименьшая объемная подача, л/с (м3/ч) | 2,8 (10,1) |
| Число двойных ходов поршня в минуту | от 30 до 133 |
| Диаметр сменных втулок, мм | 90; 100; 115; 127 |
| Длина хода поршня (расчетная), мм | 250 |
| Передаточное число червячной передачи | 22 |
| Диаметр всасывающей трубы, мм | 100 |
| Диаметр нагнетательной трубы, мм | 50 |
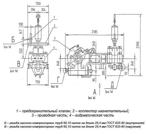
| Габаритный размеры, мм, не более | |
|
2385 |
|
750 |
|
2390 |
| Масса, кг, не более | 2890 |
Объемная подача и давление (наибольшее) на выходе насоса для всех типоразмеров втулок
|
Число двойных ходов поршня в минуту |
Диаметр цилиндровых втулок, мм |
Объемная подача, л/с (м3/ч) |
Давление, МПа (кгс/см2), наибольшее |
|
133 |
90 100 115 127 |
12,3 (44,3) 15,6 (56,2) 21,2 (76,3) 26,0 (93,6) |
9,5 (95) 7,5 (75) 5,5 (55) 4,5 (45) |
|
30 |
90 100 115 127 |
2,8 (10,1) 3,5 (12,6) 4,8 (17,3) 6,0 (21,6) |
40,0 (400)* 32,0 (320)* 23,0 (230)* 18,5 (185)* |
|
Примечания 1 Допустимое отклонение объемной подачи минус 20% 2 * Давления (наибольшие) ограничены предохранительным клапаном. 3 Не рекомендуется длительный режим работы насоса при числе двойных ходов свыше 70 |
|||
Назначение насоса – нагнетание различных неагрессивных жидких сред при проведении цементирования скважин и промывочно-продавочных работ впроцессе бурения и ремонта нефтяных и газовых скважин.
Насос НЦ-320 (9Т) состоит из двух основных частей: приводной и гидравлической, соединенных между собой.
К насосу прилагается комплект запасных частей, инструмента и принадлежностей.
Вид климатического исполнения У1 по ГОСТ 15150-69.
Номинальные значения климатических факторов по ГОСТ 15150-69.
Общий вид поршневого насоса НЦ-320. Габаритные и присоединительные размеры

Насос НПЦ-320 АФНИ.063168.002
Поделиться страницей:
