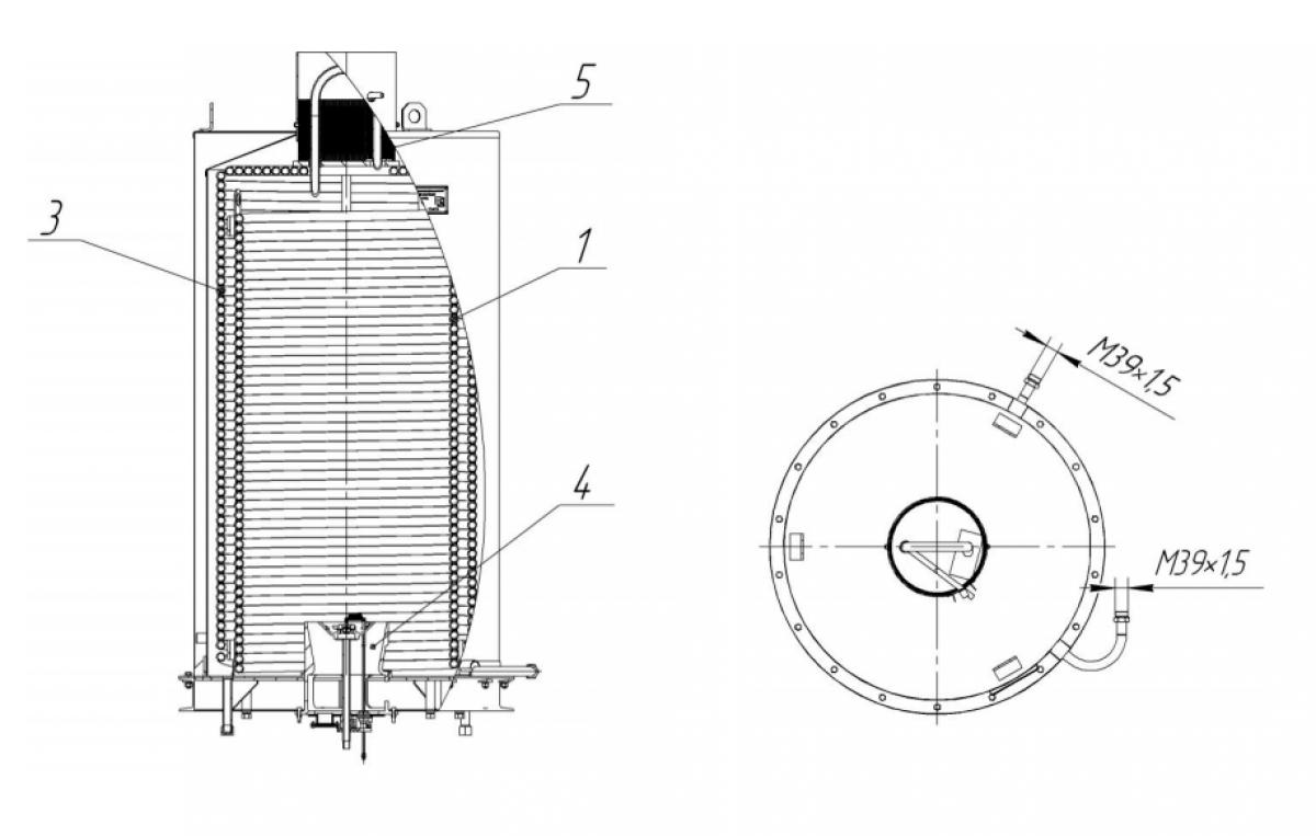
УСТАНОВКА ПРОМЫСЛОВАЯ ПАРОВАЯ ПЕРДВИЖНАЯ ППУА-1600
Рисунок 1 – Установка промысловая паровая передвижная
| № поз |
Обозначение |
Наименование |
Примечание |
| 1 |
КП.00.000 |
Котел паровой |
Рисунок 2 |
| 2 |
|
Трансмиссия |
|
| 5 |
35.05.00.000 |
Цистерна |
|
| 6 |
|
Система топливная |
|
| 7 |
|
Обвязка |
|
| 8 |
|
Электрооборудование КИПиА |
Приложение А |
| 11 |
|
Воздуховод |
|
| 13 |
НППУА.13.01.000 |
Труба магистральная |
Рисунок 6 |
| 17 |
|
Система выхлопа |
|
| 18 |
НППУА.18.01.100 |
Колено соединительное |
Рисунок 7 |
| 19 |
НППУА.19.00.000 |
Узел запорный |
Рисунок 8 |
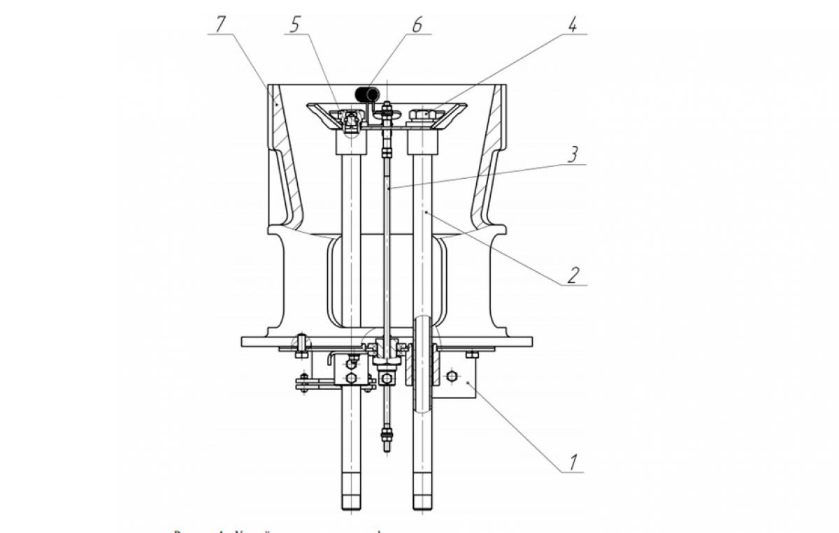
Рисунок 2 – Котел паровой
| № поз |
Обозначение |
Наименование |
Кол. |
Примечание |
| 1 |
КП.01.100 |
Змеевик внутренний |
1 |
|
| 2 |
КП.01.300 |
Змеевик наружный |
1 |
|
| 3 |
КП.02.000 |
Устройство горелочное |
1 |
Рисунок 3 |
| 4 |
335.01.00.600 |
Устройство горелочное |
1 |
Рисунок 4 |
| 5 |
КП.01.500 |
Искрогаситель |
1 |
|
Рисунок 3 – Устройство горелочное трехфорсуночное
| № поз |
Обозначение |
Наименование |
Кол. |
Примечание |
| 1 |
КП.02.001* |
Корпус |
1 |
|
| 2 |
КП.02.100 |
Корпус в сборе |
1 |
|
| 3 |
КП.02.400 |
Форсунка |
3 |
Рисунок 5 |
| 4 |
КП.02.300 |
Электрод в сборе |
1 |
|
| 5 |
КП.02.003 |
Спираль |
1 |
|
| 6 |
КП.02.012 |
Стекло |
1 |
|
| 7 |
КП.02.200 |
Основание |
1 |
|
*Поставляется по отдельному заказу
Рисунок 4 – Устройство горелочное двухфорсуночное
| № поз |
Обозначение |
Наименование |
Кол. |
Примечание |
| 1 |
335.01.00.610 |
Основание |
1 |
|
| 2 |
335.01.00.630 |
Стабилизатор |
1 |
|
| 3 |
335.01.00.640 |
Электрод в сборе |
1 |
|
| 4 |
335.01.00.650 |
Форсунка |
1 |
Рисунок 5 |
| 5 |
КП.02.400 |
Форсунка |
1 |
Рисунок 5 |
| 6 |
35.01.00.606 |
Спираль |
1 |
|
| 7 |
КП.02.001* |
Корпус |
1 |
|
*Поставляется по отдельному заказу
| № поз |
Обозначение |
Наименование |
Кол. |
Примечание |
| 1 |
КП.02.401 |
Корпус |
1 |
КП.02.400, 335.01.00.600 |
| 2 |
КП.02.402 |
Сопло |
1 |
КП.02.400 (отв. ø0,8) |
| 2 |
335.01.00.651 |
Сопло |
1 |
335.01.00.650 (отв. ø1,2) |
| 3 |
КП.02.403 |
Завихритель |
1 |
КП.02.400, 335.01.00.600 |
Рисунок 6: а) Труба магистральная
б) БРС ППУА
| № поз |
Обозначение |
Наименование |
Кол. |
Примечание |
| 1 |
НППУА.13.01.001 |
Труба |
1 |
|
| 2 |
НППУА.13.01.002 |
Муфта |
1 |
|
| 3 |
НППУА.13.01.003 |
Гайка накидная |
1 |
|
| 4 |
НППУА.13.01.004 |
Ниппель |
1 |
|
Рисунок 7 – Колено соединительное
№
поз |
Обозначение |
Наименование |
Кол. |
Примечание |
| 1 |
НППУА.18.01.101 |
Колено |
1 |
|
| 2 |
НППУА.13.01.002 |
Муфта |
1 |
|
| 3 |
НППУА.13.01.003 |
Гайка накидная |
1 |
|
| 4 |
НППУА.13.01.004 |
Ниппель |
1 |
|
Рисунок 8 – Вентиль запорный
№
поз |
Обозначение |
Наименование |
Кол. |
Примечание |
| 1 |
НППУА.13.01.002 |
Муфта |
1 |
|
| 2 |
НППУА.13.01.003 |
Гайка накидная |
1 |
|
| 3 |
НППУА.13.01.004 |
Ниппель |
1 |
|
| 4 |
999-20-0 |
Вентиль запорный
для пара |
1 |
|
| 5 |
720-20-0А |
Клапан обратный |
1 |
|
Приложение А
Электрооборудование КИПиА
Щит приборов НППУА.08.01.000-11 на шасси автомобилей Урал, КАМАЗ, КрАЗ
Щит приборов НППУА.08.01.000-31 на шасси автомобилей Урал, КАМАЗ, КрАЗ
Щит приборов НППУА.08.01.000-04 на шасси автомобилей Урал, КАМАЗ, КрАЗ
Щит приборов НППУА.08.01.000-05 на шасси автомобилей Урал, КАМАЗ, КрАЗ
Кожух щита приборов НППУА.08.12.000-17 на шасси автомобилей КрАЗ-250, КрАЗ-255
№
п/п |
Обозначение |
Наименование |
Примечание |
| 1 |
НППУА.08.10.000-00 |
Жгут |
Установка ППУА однофункциональная
на шасси автомобиля Урал
(длиннобазовом) с прибором контроля
пламени ПКНП-02, автомобильным
датчиком давления топлива типа
14.38100.10 для контроля давления
топлива |
| 2 |
НППУА.08.10.000-01 |
Жгут |
Установка ППУА многофункциональная
на шасси автомобиля Урал
(длиннобазовом) с прибором контроля
наличия пламени ПКНП-02,
индикатором давления ИД-1 для
контроля давления топлива |
| 3 |
НППУА.08.10.000-02 |
Жгут |
Установка ППУА однофункциональная
на шасси автомобиля Урал
(короткобазовом) с прибором контроля
наличия пламени ПКНП-01
(Пламя-М02), автомобильным датчиком
давления топлива типа 14.3 |
| 4 |
НППУА.08.10.000-03 |
Жгут |
Установка ППУА многофункциональная
на шасси автомобиля Урал
(длиннобазовом) с прибором контроля
наличия пламени ПКНП-01,
индикатором давления ИД-1 для
контроля давления топлива |
| 5 |
НППУА.08.10.000-11 |
Жгут |
Установка ППУА многофункциональная
на шасси автомобиля Урал
(длиннобазовом) с сигнализ |
| 6 |
НППУА.08.10.000-12 |
Жгут |
Установка ППУА многофункциональная
на шасси автомобиля КрАЗ с
сигнализатором температуры и давления
СТДЭ-1 |
| 7 |
НППУА.08.10.000-13 |
Жгут |
Установка ППУА многофункциональная
на шасси автомобиля КАМАЗ с
сигнализатором температуры и давления
СТДЭ-1 |
| 8 |
НППУА.08.10.000-17 |
Жгут |
Установка ППУА однофункциональная
на шасси автомобиля КрАЗ-250 с
прибором контроля наличия пламени
ПКНП-02, индикатором давления ИД-1
для контроля давления топлива,
тахометром Тми2-М1 |
| 9 |
НППУА.08.10.000-18 |
Жгут |
Установка ППУА однофункциональная
на шасси автомобиля КрАЗ-255 с
прибором контроля наличия пламени
ПКНП-02, автомобильным датчиком
давления топлива типа 14.38100.10 для
контроля д |
| 10 |
НППУА.08.10.000-19 |
Жгут |
Установка ППУА многофункциональная
на шасси автомобиля КрАЗ-655 с
прибором контроля наличия пламени
ПКНП-01, индикатором давления ИД-1
для контроля давления топлива |
| 11 |
НППУА.08.10.000-32 |
Жгут |
Установка ППУА однофункциональная
на шасси автомобиля КАМАЗ-43118 с
прибором контроля наличия пламени
ПКНП-01, индикатором давления ИД-1
для контроля давления топлива |
| 12 |
НППУА.08.10.000-50 |
Жгут |
Установка ППУА многофункциональная
на шасси автомобиля Урал
(длиннобазовом) с ДС-Б-050М и
приборами ДМ2010 и ИД-1 для контроля
низкого давления пара |
Форсунка КП 02.400 ( 335.01.00.650 )
Поделиться страницей: