Корзина покупок пуста.
Вы можете выбрать нужный товар из каталога.
Вы можете выбрать нужный товар из каталога.
ВНИМАНИЕ! Мы работаем с физическими и юридическими лицами!
АСК
Перейти к описаниюНМШ 5-25 НМШ 8-25

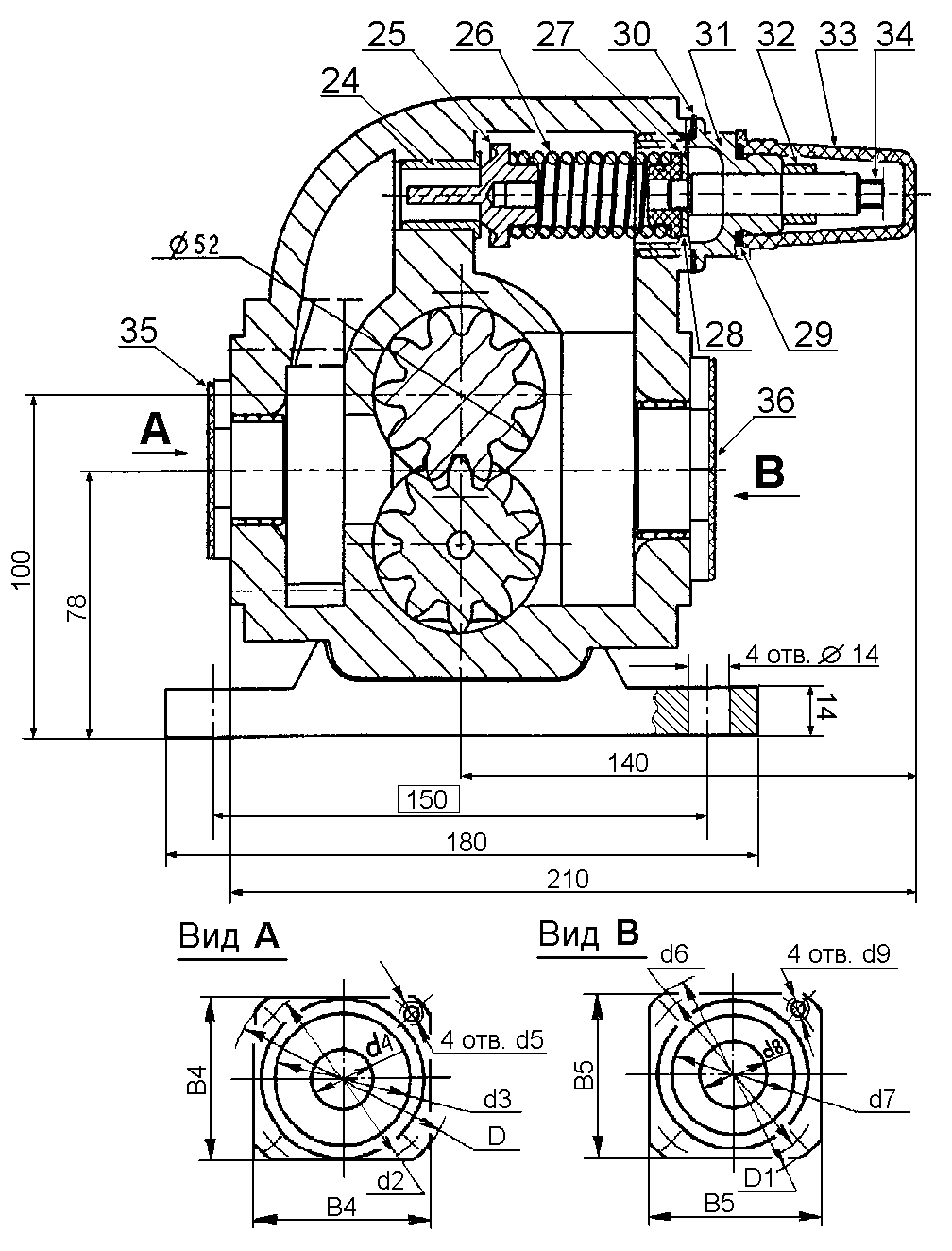
| Обозначение насоса | L | L1 |
| НМШ 5-25 | 245 | 155 |
| НМШ 8-25 | 270 | 168 |
| Обозначение насоса |
В4 | B5 | D | D1 | d2 | d3 | d4 | d5 | d6 | d7 | d8 | d9 |
| НМШ 5-25 | 105 | 100 | 135 | 130 | 100 | 78 | 32 | М16-6Н | 100 | 80 | 40 | М12-6Н |
| НМШ 8-25 | 110 | 140 | 110 | 90 | 50 |
| Наименование | Наименование |
| 1. Чугунный корпус Н5.001 | 19.Звёздочка Н5.027 |
| 2. Втулка подшипника Н5.003 | 20.Полумуфта Н5.026 |
| 3. Ротор ведомый Н5.002 | 21.Стойка Н5.021 |
| 4. Болт М8х30 | 22.Втулка подшипника Н5.004 |
| 5. Ротор ведущий Н5.025 | 23.Манжета рез. Н5.011 |
| 6. Прокладка Н5.022 | 24.Седло Н5.024 |
| 7. Крышка Н5.018 | 25.Клапан Н5.017 |
| 8. Прокладка Н5.010 | 26.Пружина Н5.007 |
| 9. Пробка Н5.009 | 27.Втулка Н5.016 |
| 10. Пружина Н5.008 | 28.Шайба Н5.015 |
| 11. Шарик Æ 9 | 29.Резиновое кольцо 22-27-3,0 |
| 12. Втулка подшипника Н5.003 | 30.Прокладка Н5.010 |
| 13. Втулка подшипника Н5.004 | 31.Крышка клапана Н5.014 |
| 14. Уплотнение торцевое | 32.Гайка стопорная М12 |
| 14а. Уплотнение торцевое S* | 33.Колпачёк Н5.012 |
| 15. Прокладка Н5.023 | 34.Регулировочный винт Н5.013 |
| 16. Крышка Н5.019 | 35.Заглушка Н5.006 |
| 17. Болт М8х20 | 36.Заглушка Н5.005 |
| 18. Полумуфта Н5.026 | 37.Шпонка |
Запчасти к насосам НМШ 5-25 , НМШ 8-25