Корзина покупок пуста.
Вы можете выбрать нужный товар из каталога.
Вы можете выбрать нужный товар из каталога.
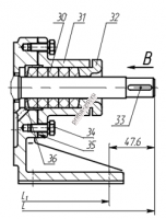
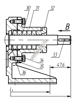
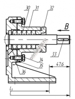
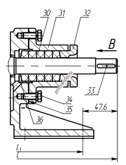
Комплектующие к насосу НМШ
| № поз. | Наименование детали |
Обозначение нормативно- технического документа |
Количество на насос |
| 1 | Корпус НМШ2-40 | Н42.878.01.00.007 | 1 |
| Корпус НМШ5-25 | Н42.878.01.00.008 | 1 | |
| Корпус НМШ8-25 | Н42.878.01.00.009 | 1 | |
| 2 | Втулка III | Н42.878.01.00.003 | 1 |
| Втулка 13 | Н42.878.01.02.030 | 1 | |
| 3 | Ротор ведомый НМШ2-40 | Н42.878.01.00.013 | 1 |
| Ротор ведомый НМШ5-25 | Н42.878.01.00.013-03 | 1 | |
| Ротор ведомый НМШ8-25 | Н42.878.01.00.013-04 | 1 | |
| 4 | Болт М8×25 | ГОСТ 7798-70 | 12 |
| 5 | Ротор ведущий НМШ2-40 | Н42.878.01.00.012 | 1 |
| Ротор ведущий НМШ8-25 | Н42.878.01.00.012-04 | 1 | |
| Ротор ведущий НМШ5-25 | Н42.878.01.00.012-03 | 1 | |
| 6 | Прокладка | 0603.50 6212.0001 | 1 |
| 7 | Крышка задняя | 0603.50 6455.0001 | 1 |
| 8 | Прокладка | 0603. 40 9943.0001 | 1 |
| 9 | Пробка | 30.4154.0004 | 1 |
| 10 | Пружина | 0603.50 9113.0001 | 1 |
| 11 | Шарик Б8-5 | ГОСТ 3722-81 | 1 |
| 12 | Втулка IV | Н42.878.01.00.004 | 1 |
| Втулка 14 | Н42.878.01.02.040 | 1 | |
| 13 | Втулка I НМШ5-25 НМШ8-25 | Н42.878.01.00.001 | 1 |
| Втулка 11 НМШ5-25 НМШ8-25 | Н42.878.01.02.010 | 1 | |
| Втулка V НМШ2-40 | Н42.878.01.00.005 | 1 | |
| Втулка 15 НМШ2-40 | Н42.878.01.02.050 | 1 | |
| 14 | Прокладка | 0603.50 6212.0002 | 1 |
| 15 | Болт М8×20 | ГОСТ 7798-70 | 2 |
| 16 | Крышка сальника | 0603.40 8443.0001 | 1 |
| 17 | Стойка | Н42.878.01.00.017-01 | 1 |
| Стойка | Н42.878.01.011-02 | 1 | |
| 18 | Манжета НМШ2-40 | Н42.878.01.00.015 | 1 |
| Манжета НМШ5-25 НМШ8-25 | Н42.878.01.00.016 | 1 | |
| 19 | Втулка II НМШ5-25 НМШ8-25 | Н42.878.01.00.002 | 1 |
| Втулка 12 НМШ5-25 НМШ8-25 | Н42.878.01.02.020 | 1 | |
| Втулка VI НМШ2-40 | Н42.878.01.00.006 | 1 | |
| Втулка 16 НМШ2-40 | Н42.878.01.02.060 | 1 | |
| 20 | Седло клапана | 0603.40 5342.0001 | 1 |
| 21 | Клапан | 0603.40 4533.0001 | 1 |
| 22 | Пружина клапана | 0603.50 9113.0002 | 1 |
| 23 | Шайба | 0603.40 3441.0002 | 1 |
| 24 | Винт регулировочный | 0603.40 8425.0001 | 1 |
| 25 | Прокладка | 0603.40 9943.0001-02 | 1 |
| 26 | Крышка клапана | 0603.40 8417.0001 | 1 |
| 27 | Прокладка (кольцо) | 0603.40 9943.0001-01 (026-030-25-2-2) | 1 |
| 28 | Гайка М12 | ГОСТ 15521-70 | 1 |
| Шайба 12.65Г | ГОСТ 6402-70 | 4 | |
| 29 | Колпачок | 0603.40 4134.0001 (0603.40 4134.0002) | 1 |
| 30 | Набивка АП31 10×10 | ГОСТ 5152-84 | 1 |
| 31 | Корпус уплотнения | Н42.787.00.004-01 | 1 |
| 32 | Крышка сальника | Н42.787.00.009 | 1 |
| 33 | Болт М8×20 | ГОСТ 7798-70 | 2 |
| Шайба 8,65Г | ГОСТ 6402-70 | 14 | |
| 34 | Болт М8×20 | ГОСТ 7798-70 | 2 |
| Шайба 8,65Г | ГОСТ 6402-70 | 14 | |
| 35 | Прокладка | Н42.787.00.011 | 1 |
| 36 | Кольцо упорное | Н42.787.00.007 | 1 |
| 37 | Кольцо упорное | 0603.40 3441.0003
0603.40 3441.0006 (до t=70°С) |
1 |
| 38 | Винт установочный | Н42.878.01.00.018 | 1 |
| 39 | Пружина сальника | 0603.50 9113.0003 | 1 |
| 40 | Втулка упорная | 0603.40 3143.0003 | 1 |
| 0603.40 3143.0004 (до t=70°С) | |||
| 41 | Кольцо 022-028-36-2-3826 | ГОСТ9833-73 | 1 |
| 42 | Кольцо | Н83.27.00.011 | 1 |
| 43 | Подпятник | 0603.40 3542.0001 | 1 |
| 44 | Штифт2×6 | ГОСТ 3128-70 0684.40 9711.001 | 1 |
| 45 | Пята | 0603.40 3141.0001 | 1 |
| 46 | Кольцо упорное | Н42.878.01.01.001 | 1 |
| Кольцо упорное | Н42.878.01.01.002 | 1 | |
| 47 | Вращающаяся часть | 1 | |
| 48 | Неподвижная часть | 1 |
Втулка Н42.878.01.00.001 для НМШ